
咨詢熱線
15231779607
梅花形彈性聯軸器是由兩個帶凸爪形狀相同的半聯軸器和彈性元件組成,利用梅花形彈性元件置于兩半聯軸器凸爪之間,以實現兩半聯軸器的聯接......
電話:0317-8309526
聯系人:何總
地址:河北省滄州市
15231779607
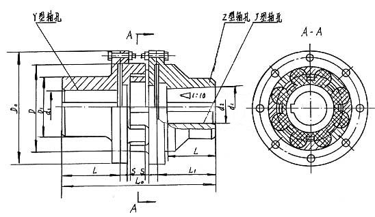
LMZ-Ⅱ(原MLL-Ⅱ)型帶制動輪梅花形彈性聯軸器(GB5272-2002替代GB5272-85)
●梅花形彈性聯軸器是由兩個帶凸爪形狀相同的半聯軸器和彈性元件組成,利用梅花形彈性元件置于兩半聯軸器凸爪之間,以實現兩半聯軸器的聯接。具有補償兩軸相對偏移、減振、緩沖、徑向尺寸小、結構簡單、不用潤滑、承載能力較高、維護方便等特點,但更換彈性元件時兩半聯軸器需沿軸向移動。適用于聯接兩同軸線、起動頻繁、正反轉變化、中低速、中小功率傳動軸系、要求工作可靠性高的工作部位,不適用于重載及軸向尺寸受限制、更換彈性元件后兩軸線對中困難的部位。
標準修訂后,梅花形彈性元件的材料有聚氨脂和鑄形尼龍兩種。根據不同工況條件選用不同材料,如風機、水泵、輕工、紡織等工作平穩、載荷變化不大時,可選用聚氨脂。兩種材料的價格相差較大。
梅花形彈性聯軸器具有以下特點:花形彈性聯軸器結構簡單,徑向尺寸小,重量輕,轉動慣量小,適用于中高速場合,梅花形彈性聯軸器工作穩定可靠,具有良好的減振、緩沖和電絕緣性能。梅花形彈性聯軸器具有較大的軸向、徑向和角向補償能力,梅花形彈性聯軸器高強度聚氨酯彈性元件耐磨耐油,承載能力大,使用壽命長,安全可靠,聯軸器無需潤滑,維護工作量少,可連續長期運行。
梅花形彈性聯軸器主要適用于起動頻繁、正反轉、中高速、中等扭矩和要求高可靠性的工作場合,例如:冶金、礦山、石油、化工、起重、運輸、輕工、紡織、水泵、風機等。工作環境溫度 -35℃~+80℃,傳遞公稱扭矩25~12500Nm,許用轉速1500~15300r/min。
梅花形彈性聯軸器主要由兩個帶凸齒密切嚙合并承受徑向擠壓以傳遞扭矩,當兩軸線有相對偏移時,彈性元件發生相應的彈性變形,起到自動補償作用。
MLL-Ⅱ 型帶制動輪梅花形彈性聯軸器基本性能參數和主要尺寸

梅花形彈性聯軸器 2004 年不少化工機械制造企業接到了多年未見的大量訂單 , 產品銷售額大幅提升 , 今年上半年又提升 30 %。例如在汽車行業,吉利集團扛起了中國民族汽車工業自主創新的一面旗幟。星形聯軸器同時,還為貴州黎陽機械廠、沈陽 606 所、 7105 工廠、成都航空發動機公司等航空企業提供了數控重型機床和加工中心等關鍵加工設備。在這屆展示全球機床高端產品的盛大 “ 宴會 ” 上,江蘇亞威機床有限公司參展的 “ 中國名牌 ” 產品高精密數控折彎機與數控剪板機,受到來自全球數以千計的機床生產廠家和經銷商的青睞。低間隙梅花聯軸器聯軸器 ROTEX couplings couplings couplings couplings al-035 三木
聚氨酯聯軸器 GR 90 ROTEX-GS 90 es 90 trasco 90 es 65 cl-150 lovejoy
聚氨酯聯軸器 sit spa ktr kupplungstechnik gmbh made in italy made in germany coupling miki pulley
聯軸器 sit spa ktr kupplungstechnik gmbh made in italy made in germany coupling miki pulley 64 sha
進口 進口 進口 進口 進口 進口 進口 進口
梅花塊 GR 125 ROTEX-GS 125 es 125 trasco 125 sprflex coupling mikipulley EK1/450
彈性聯軸器 GR 65 ROTEX-GS 65 es 65 trasco 65 es 48 cl-100 lovejoy
servomax EKL/150 EKH/300 EK1/150 RW R+W ANTRIEBSELEMENTE GMBH EK2/60 EK6/300
彈性體 GR 19 ROTEX-GS 19 es 19 trasco 19 es 9 al-070 三木
彈性塊 sit spa ktr kupplungstechnik gmbh made in italy made in germany coupling miki pulley 92 SHA
梅花聯軸器 GR 14 ROTEX-GS 14 es 14 trasco 14 es 7 al-050 三木
全國免費咨詢熱線:15231779607
電話:0317-8223939
傳真:0317-8263317
郵箱:13603176160@163.com
地址:河北省泊頭市工業開發區
掃碼聯系我們